銷售熱線
技術熱線:0576-85183757
銷售電話:0576-85182037
技術電話:0576-85183757
傳真號碼:0576-85182843
聯系郵箱:haihong@cn-hydraulic.com
公司地址:浙江省臨海市江南街道金嶺路199號
產品特點
結構緊湊,安裝方便;
提制方式:電液控制,減輕操作者的疲勞強度;
設有常開倒燈開關,具有警示和安全作用;
微動性能好。
應用領域
該系列變速操縱閥主要適用于叉車、牽引車等行走機械變速箱系統。
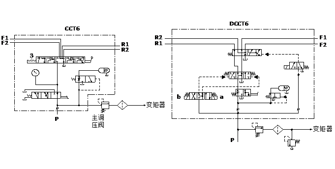
液壓原理圖
技術參數(對超出下述參數的應用場合,請與我公司聯系)
|
概述 |
|
|
控制方式 |
電液或手動控制 |
|
安裝方式 |
見外形圖 |
|
液壓 |
|
|
公稱壓力bar |
25 |
|
公稱流量 L/min |
25 |
|
定壓閥調定壓力 bar |
11~15 |
|
閥芯操縱力 N |
max. 120 |
|
額定電壓UR V |
DC 12或24 |
|
額定電流 IR A |
max. 1.2A(在額定電壓,25℃溫度下測定) |
|
液壓油溫度范圍℃ |
-20~+100 |
|
粘度范圍m2/s |
10~380 |
|
油液允許的污染等級 |
-/19/16 (ISO4406:1999) |
|
機械 |
|
|
重量kg CCT4約8.8kg CCT5約11.3kg CCT6約18kg |
DCCT4約9.8kg DCCT5約12.3kg DCCT6約19kg |
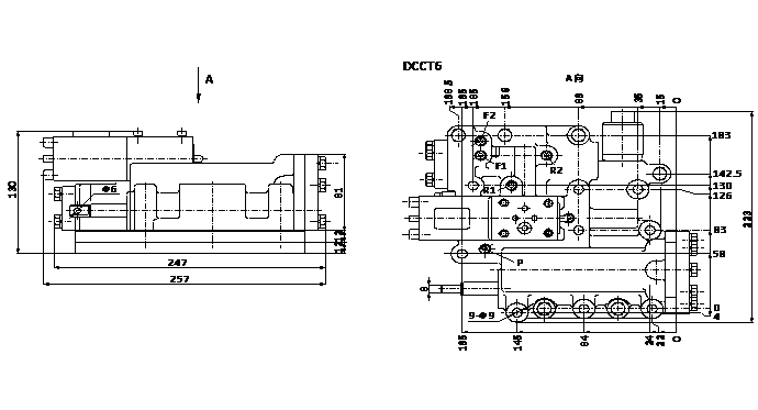
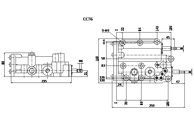
外形尺寸
相關產品
銷售熱線:0576-85182037
友情鏈接: 多路閥系列 先導閥系列 制動閥系列 操縱閥系列 農機閥系列 轉向閥系列 Sitemap TXT Sitemap XML 網站地圖

微信官網

手機官網